Der Befehl Organigramme und Blockschemen enthält Elemente, mit denen eine Vielzahl von Funktionsdiagrammen, Netzwerkinfrastrukturen, technologischer Prozessmodelle und Blockdiagramme erstellt werden können.

Dialogfenster Organigramme und Blockschemen
Viele Blockschemenelemente haben Eingabefelder, in denen eine große Anzahl von Texten eingegeben werden kann. Das Programm passt automatisch die Größe der Elemente, die eingefügt werden, an die Textlänge an. Muss der Nutzer den Text bearbeiten, kann er das mit dem Befehl Symbole bearbeiten tun. Danach wird die Blockgröße aktualisiert. Es ist auch möglich die minimale Blockgröße festzulegen, so dass auch bei kleiner Textmenge die Größe der einzelnen Elemente ähnlich ist.
Alle Methoden der Arbeit mit diesen Symbolen sind vollständig in den einzelnen Kapiteln, die über Arbeiten mit Schema handeln, vollständig erläutert.
Beispiele für Blockschemen und Organigramme:

Diese Zeichnung zeigt ein beispielhaftes Blockschema einer industriellen Anlage.

Funktionsdiagramme erstellt nach dem Standard EN 60848.

Erstellung von Computernetzwerk- und Infrastrukturschemen.

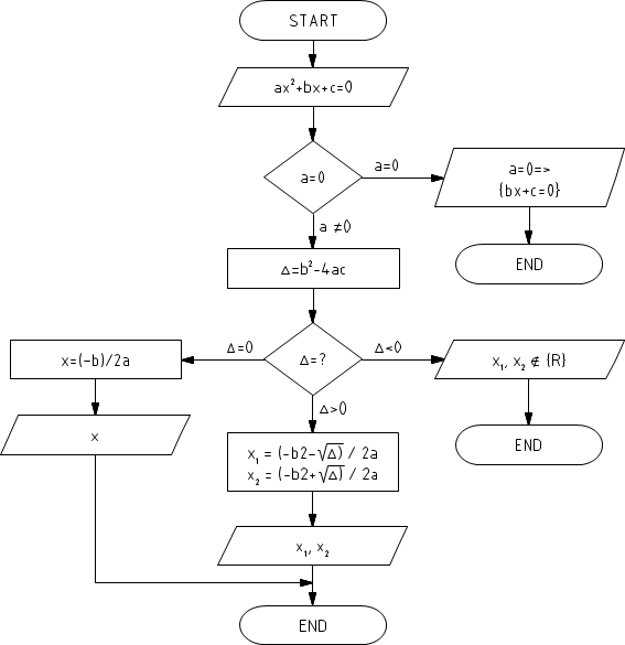
Ein Beispiel für einen Algorithmus.
Das Programm kann BPMN-Schemen zeichnen. Business Process
Modelling Notation ist ein grafischer Weg, Geschäftsprozesse darzustellen.
BPMN beschreibt drei Arten von Prozessen:
•interner Prozess
•öffentlicher Prozess
•Kooperationsprozess
Im CADprofi sind folgende grafische BPMN-Element-Kategorien verfügbar:
•aktive Elemente
•Anschlüsse
•Standort des Prozesses
•grafische Elemente, um zusätzliche Informationen hinzuzufügen (Daten, Anmerkungen und Gruppen)

Ein Beispiel für ein BPMN-Schema